User not logged in - login - register
Home Calendar Books School Tool Photo Gallery Message Boards Users Statistics Advertise Site Info
 Photo Gallery » arghx » car technical shit 3 » Lexus LFA autom...

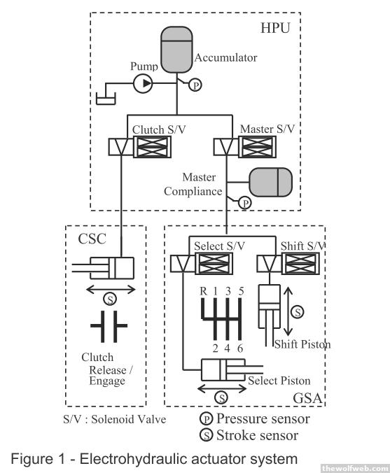
Lexus LFA automated manual transmission
Prev  

© 2026 by The Wolf Web - All Rights Reserved.
The material located at this site is not endorsed, sponsored or provided by or on behalf of North Carolina State University.
Powered by CrazyWeb v2.39 - our disclaimer.